Clarus Security Detection and Response Systems:

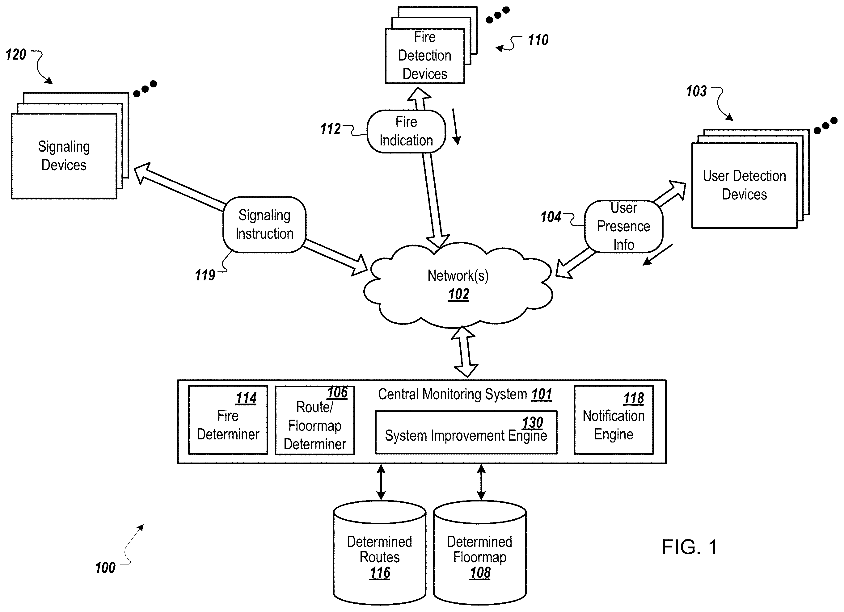
Introducing our groundbreaking patent offering: an advanced system and method designed for predicting and enhancing emergency preparedness in buildings, using cutting-edge technology. Imagine equipping any type of building, be it residential, commercial, or a high-rise, with the capability to dynamically generate and adapt egress plans tailored to each user's real-time location. Our technology not only enhances building layout and design for improved safety but also ensures the wellbeing of its users during emergencies.

Leveraging predictive analytics, AI, and machine learning, our system continuously improves egress strategies, provides simulated emergency scenarios for user training, and suggests structural improvements to mitigate emergency risks. This transformative technology predicts building susceptibility to various emergencies and enables proactive adjustments to building components and layouts, enhancing safety.

Designed to work synergistically, our system's network of egress advisement devices ensures constant communication, sustains operation even if one fails, and dynamically updates evacuation plans based on real-time conditions. This robust infrastructure supports not only immediate safety needs but also contributes to long-term building maintenance and safety enhancements.

This innovative solution also assesses changes in building environments, predicting impacts on safety and suggesting necessary adjustments. Whether it's moving furniture to clear egress paths or optimizing room layouts, our system ensures fluid and efficient egress routes.

In summary, this patented technology empowers buildings to become intelligent environments that anticipate, react, and prepare for emergencies like never before. By integrating advanced predictive capabilities with real-time adaptability, we are setting new standards for safety and preparedness in building management. These patents are poised to revolutionize emergency response systems, transforming buildings into smart safe havens.

Patent Title Focus Country Date
9999999999 ACTIVE SHOOTER DETECTION AND RESPONSE SYSTEM United States of America 31-Dec-2026
3915099 HOME EMERGENCY GUIDANCE AND ADVISEMENT SYSTEM European 25-Sep-2025
12293676 PREDICTIVE BUILDING EMERGENCY TRAINING AND GUIDANCE SYSTEM United States of America 26-May-2025
4371097 BUILDING SECURITY AND EMERGENCY DETECTION AND ADVISEMENT SYSTEM European 30-Apr-2025
12223819 BUILDING SECURITY AND EMERGENCY DETECTION AND ADVISEMENT SYSTEM United States of America 11-Feb-2025
12214283 SYSTEMS AND METHODS FOR MACHINE LEARNING-BASED EMERGENCY EGRESS AND ADVISEMENT United States of America 04-Feb-2025
12205447 ARTIFICIAL INTELLIGENCE (AI) BUILDING EMERGENCY GUIDANCE AND ADVISEMENT SYSTEM United States of America 21-Jan-2025
12033534 PREDICTIVE BUILDING EMERGENCY TRAINING AND GUIDANCE SYSTEM United States of America 09-Jul-2024
2966206 MANAGING BUILDING INFORMATION AND RESOLVING BUILDING ISSUES Canada 13-Feb-2024
11875661 BUILDING SECURITY AND EMERGENCY DETECTION AND ADVISEMENT SYSTEM United States of America 16-Jan-2024
11850515 SYSTEMS AND METHODS FOR MACHINE LEARNING-BASED EMERGENCY EGRESS AND ADVISEMENT United States of America 26-Dec-2023
11756399 PREDICTIVE BUILDING EMERGENCY GUIDANCE AND ADVISEMENT SYSTEM United States of America 12-Sep-2023
11631305 CENTRALLY MANAGED EMERGENCY EGRESS GUIDANCE FOR BUILDING WITH DISTRIBUTED EGRESS ADVISEMENT DEVICES United States of America 18-Apr-2023
11625995 SYSTEM AND METHOD FOR GENERATING EMERGENCY EGRESS ADVISEMENT United States of America 11-Apr-2023
11625996 COMPUTER-BASED TRAINING FOR EMERGENCY EGRESS OF BUILDING WITH DISTRIBUTED EGRESS ADVISEMENT DEVICES United States of America 11-Apr-2023
11625997 EMERGENCY EGRESS GUIDANCE USING ADVISEMENTS STORED LOCALLY ON EGRESS ADVISEMENT DEVICES United States of America 11-Apr-2023
11625998 PROVIDING EMERGENCY EGRESS GUIDANCE VIA PEER-TO-PEER COMMUNICATION AMONG DISTRIBUTED EGRESS ADVISEMENT DEVICES United States of America 11-Apr-2023
11626002 BUILDING SECURITY AND EMERGENCY DETECTION AND ADVISEMENT SYSTEM United States of America 11-Apr-2023
11620883 SYSTEM AND METHOD FOR DYNAMIC MODIFICATION AND SELECTION OF EMERGENCY EGRESS ADVISEMENT United States of America 04-Apr-2023
11620884 EGRESS ADVISEMENT DEVICES TO OUTPUT EMERGENCY EGRESS GUIDANCE TO USERS United States of America 04-Apr-2023
11615490 MANAGING BUILDING INFORMATION AND RESOLVING BUILDING ISSUES United States of America 28-Mar-2023
11600156 SYSTEM AND METHOD FOR AUTOMATING EMERGENCY EGRESS ADVISEMENT GENERATION United States of America 07-Mar-2023
11583770 SYSTEMS AND METHODS FOR MACHINE LEARNING-BASED EMERGENCY EGRESS AND ADVISEMENT United States of America 21-Feb-2023
2022203215 HOME EMERGENCY GUIDANCE AND ADVISEMENT SYSTEM Australia 15-Dec-2022
11501621 PREDICTIVE BUILDING EMERGENCY GUIDANCE AND ADVISEMENT SYSTEM United States of America 15-Nov-2022
3127796 HOME EMERGENCY GUIDANCE AND ADVISEMENT SYSTEM Canada 04-Oct-2022
11450226 PREDICTIVE BUILDING EMERGENCY TRAINING AND GUIDANCE SYSTEM United States of America 20-Sep-2022
2022200402 HOME EMERGENCY GUIDANCE AND ADVISEMENT SYSTEM Australia 28-Jul-2022
2020212041 HOME EMERGENCY GUIDANCE AND ADVISEMENT SYSTEM Australia 09-Jun-2022
11335171 HOME EMERGENCY GUIDANCE AND ADVISEMENT SYSTEM United States of America 17-May-2022
11127095 MANAGING BUILDING INFORMATION AND RESOLVING BUILDING ISSUES United States of America 21-Sep-2021
11043095 PREDICTIVE BUILDING EMERGENCY GUIDANCE AND ADVISEMENT SYSTEM United States of America 22-Jun-2021
10872510 HOME EMERGENCY GUIDANCE AND ADVISEMENT SYSTEM United States of America 22-Dec-2020
10657610 MANAGING BUILDING INFORMATION AND RESOLVING BUILDING ISSUES United States of America 19-May-2020
10553085 HOME EMERGENCY GUIDANCE AND ADVISEMENT SYSTEM United States of America 04-Feb-2020
10147149 MANAGING BUILDING INFORMATION AND RESOLVING BUILDING ISSUES United States of America 04-Dec-2018
2015339325 MANAGING BUILDING INFORMATION AND RESOLVING BUILDING ISSUES Australia 07-Sep-2017
9536231 MANAGING BUILDING INFORMATION AND RESOLVING BUILDING ISSUES United States of America 03-Jan-2017
Top